主要用途
氣體旋進旋渦流量計可廣泛應用于石油、化工、電力、冶金、城市供氣等行業測量各種氣體流量,是目前油田和城市天然氣輸配計量和貿易計量的產品。
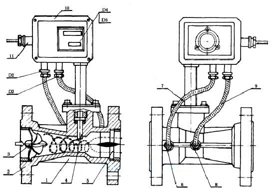
氣體旋進旋渦流量計計的結構如圖所示

氣體旋進旋渦流量計主要由四大部件組成,即由流量傳感器(亦稱主體結構)、溫度傳感器、壓力傳感器、流量計算處理顯示組成。其中流量傳感器由流量計殼體、旋渦發生體、壓電傳感器、除旋整流器組成。
隨著我國能源行業的不斷發展,并且不斷的從國內外吸收其經驗,認真的對國內外的產品進行了分析對比,吸取出國外產品長處,找到自己的不足之處,推出了新一代智能化的流量計—— 氣體旋進旋渦流量計。這種流量計不僅具有集溫度、壓力、流量監測的功能,而且還可以自動對壓縮因子、壓力以及溫度等進行補償,這些特點目前在我國的環境下非常適用。
因為氣體旋進旋渦流量計是根據我國的實情設計的,所以該流量計不僅在價格方面比較優惠,而且對前后直管段、量程比寬要求也較低,因此在氣田、油田及各個城市貿易計量等場所中能夠被迅速的應用起來。然而以該型流量計具有兩個比較明顯的缺點,一個是該型流量計的壓力損失比較大,因此該型流量計目前僅被用在高中壓調壓站、高中壓工業用戶、中小型輸配氣場站及儲罐站以等場所中。另一個是該型流量計在安裝使用時要求比較高,安裝時不僅要考慮電磁的干擾,而且對安裝位置的振動情況也要進行掌控。如果安裝在戶外既要把防曬、防雨措施做好,還要經常性的檢查、更換供電電池。
本文智能孔板流量計來源于網絡,如有侵權聯系刪除轉載請注明出處!!